EN
全国免费客服电话:

400-099-0421

首页 了解博艾格 BIGCAP®超级电容器 博艾格优势 应用案例 技术支持 人才计划 全密封-BMT 全密封-BGW 联系我们
组合类

科学的质量管理、精细的超级电容器制造过程,优质的产品技术支持以及售后服务

BMHT升级版组合系列长寿命耐高温-40℃~+85℃
BMHT升级版组合系列长寿命耐高温-40℃~+85℃

电容品牌:BIGCAP®

引出方式:导针引出

标称容量:0.22F~10F

额定电压:5.5V

计量单位:只

耐温性能:-40℃~+85℃

在线咨询
  • 产品参数表
  • 产品特点
  • 产品应用
  • 产品性能
  • 两端引出式示意图 Shape of wire lead supercapacitor:



    型号

    Part Number

    额定电压

    Nominal

    Voltage,V

    容量

    Capacitance

    ,F

    容量

    允许偏差    

    Cap.Tolerance

    最大内阻 ESR(Max), 

    尺寸 Size, mm

    AC@1kHz

    DC

    L×W×H

    ±1.0

    Φd  

    ±0.1

    F

    ±0.5

    L1

    ±2.0

    BMHT5R5L155FA

    5.5

    1.5

    -10%~+30%

    400

    600

    17×8.5×21

    0.6

    12

    29


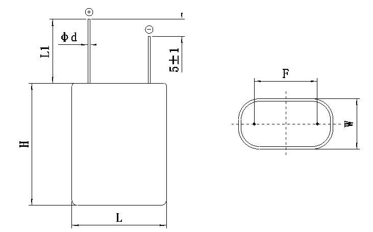
    全密封型产品示意图 Shape of full seal structure supercapacitor:



    型号

    Part Number

    额定电压

    Nominal

    Voltage,V

    容量

    Capacitance

    ,F

    容量

    允许偏差    

    Cap.Tolerance

    最大内阻 ESR(Max), 

    尺寸 Size, mm

    AC@1kHz

    DC

    L×W×H

    ±1.0

    Φd  ±0.1

    F

    ±0.5

    L1

    ±2.0

    BMHT5R5L504FAW

    5.5

    0.5

    0%~+40%

    800

    1200

    18×9.6×18.5

    0.5

    12

    26

    BMHT5R5L105FAW

    5.5

    1.0

    -10%~+30%

    200

    300

    18×9.6×20

    0.6

    11.5

    26

    BMHT5R5L155FAW

    5.5

    1.5

    -10%~+30%

    400

    600

    18×9.6×24

    0.6

    12

    26

    BMHT5R5L155FHW

    5.5

    1.5

    -10%~+30%

    400

    600

    18×9.6×24

    0.6

    11.5

    26

    BMHT5R5L205FAW

    5.5

    2.0

    0~+30%

    200

    300

    22×11.6×22

    0.6

    15

    24

    BMHT5R5L255FAW

    5.5

    2.5

    0~+30%

    140

    210

    22×11.6×22

    0.6

    15

    24

    BMHT5R5L505FAW

    5.5

    5.0

    0~+30%

    80

    120

    22×11.6×33

    0.7

    15

    25

    BMHT5R5L755FAW

    5.5

    7.5

    0~+30%

    80

    120

    27.5×14.5×33

    0.6

    17.5

    24

    BMHT5R5L106FAW

    5.5

    10

    0~+30%

    60

    90

    27.5×14.5×41

    0.6

    17.5

    24



    型号

    Part Number

    额定电压

    Nominal

    Voltage,V

    容量

    Capacitance

    ,F

    容量

    允许偏差   

     Cap.Tolerance

    最大内阻 ESR(Max), 

    尺寸 Size, mm

    AC@1kHz

    DC

    L×W×H

    ±1.0

    Φd  ±0.1

    F

    ±0.5

    L1

    ±2.0

    BMHT5R5L474FBW

    5.5

    0.47

    -20~+50%

    700

    1050

    14.7×8×16.5

    0.6

    9

    25

    BMHT5R5L155FDW

    5.5

    1.5

    -10%~+30%

    400

    600

    18×9.6×25.5

    0.6

    12

    19

    1、内部串联结构,内阻低

    2、符合 ROHS 标准,无 Cd 、Pb 等污染物质

    3、充放电循环寿命长

    4、灌封结构具备三防作用:防潮、防漏液、防老化

    5、工作温度范围:-40℃~+85℃

    6、高温高湿环境下,可长期使用,可靠性高

    工作电流100mA~几百A,工作时间微秒级至几分钟; 

    项目

    特性

    额定工作电压 Rated Operating Voltage

    5.5VDC

    工作温度范围 Operating Temperature Range

    -40~85

    容量范围 Rated Capacitance Range

    0.22F ~ 10F

     

    温度特性 Temperature Characteristics

    -40

    | ΔC/C | 30% ESR5 倍初始值

    +85

    | ΔC/C | 30% ESR≤初始值

    湿热特性 Humidity Characteristics

    40, 90~95%RH, 240h

    | ΔC/C | 30% ESR2 倍初始值

    高温寿命 High Temperature Life

    5.5V, 85, 1000h

    | ΔC/C | 30% ESR4 倍初始值

    循环寿命 Cycle Life

    5.5V, 25, 500000 

    | ΔC/C | 30% ESR4 倍初始值

    自放电特性 Self Discharge Characteristics

    无负载,额定电压充电 8h ,开路放置 24h

    non-loaded,charge at rated voltage for 8h,lay aside 24h

    at open circuit

    正负极间电压大于等于 4.4V

    The voltage between the positive and

    negative electrode4.6V

    源于专业 品质为先

    Originate from professional quality first

    推荐产品

    科学的质量管理、精细的超级电容器制造过程

    官方抖音号 官方抖音号

    联系我们

    全国免费客服电话: 400-099-0421

    销售部电话:15704219718(微信同步)代理商、经销商合作洽谈专线:13504168362 人事部、采购部、行政部座机:0421-7188266

     QQ咨询:1687188000(客服) Email:info@bigcap.net、1687188000@qq.com 公司地址:辽宁省朝阳市高新技术园区标准化厂房二期3号


    Copyright © 2018 博艾格 All rights reserved 辽ICP备13006931号 网站建设:网势科技

    电话

    信息

    分享